習近平總書記強調,社區是城市治理體系的基本單元,我國國家治理體系的一個優勢就是把城鄉社區基礎筑牢。然而,當前基層社區治理面臨著資源不足等問題,亟需加強治理體系建設。計科先鋒實踐團積極響應總書記的號召“把更多資源下沉到社區來,充實工作力量,加強信息化建設”,走入紅安基層社區,利用專業技術賦能社區治理。
據悉,計科先鋒團隊已在湖北紅安、貴州遵義、浙江嘉興等地開展暑期社會實踐活動,通過專業技術全面賦能社會各領域,該團隊通過數字技術在紅色學習、鄉村振興等多個方面取得了顯著成效。2024年,團隊積極響應習近平總書記的號召,通過數字賦能社區治理,切實服務老區人民。
金橋社區負責人潘主任表示:“你們的智慧社區軟件對數字化社區的建設非常有幫助。我期待這種創新能夠廣泛應用于更多社區,實現學以致用,用實際行動服務廣大人民群眾,真正做到在實踐中學習真知,悟出真諦。
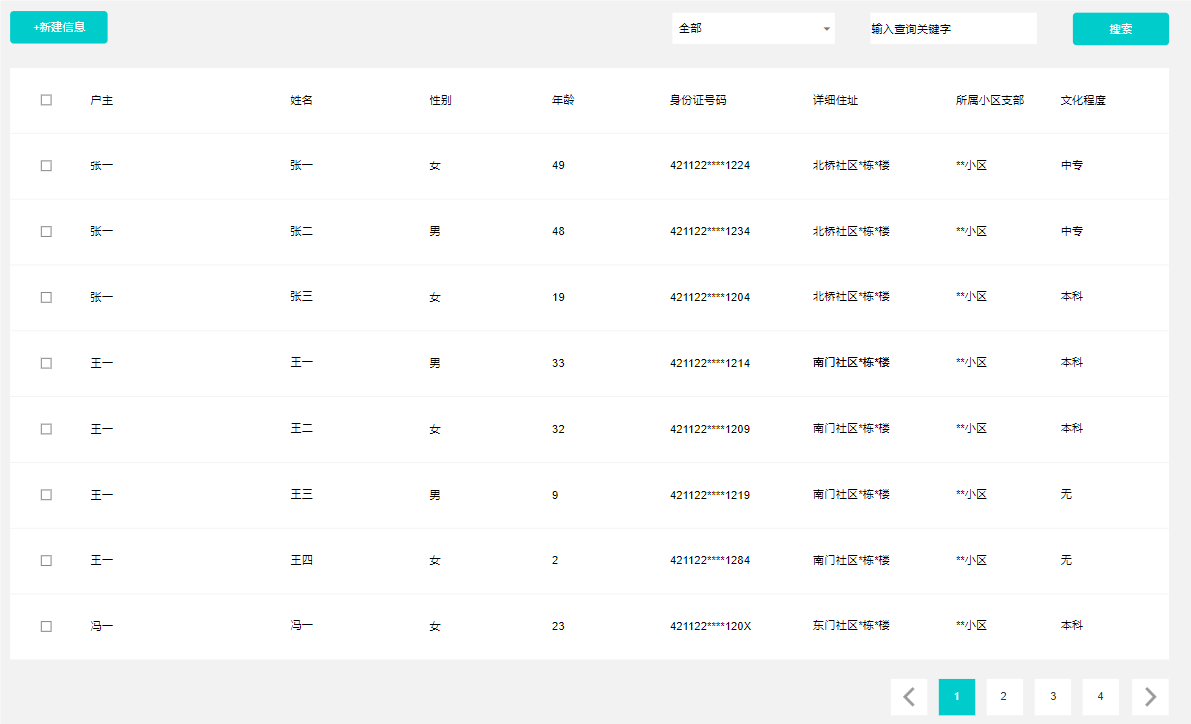
前期背景調研:深入了解基層實際需求計科先鋒團隊堅持以問題為導向,注重基層調研,在實踐前期通過實地走訪、問卷調研等方式,了解基層社區治理現狀。調研發現,當前社區治理主要面臨問題為社區居民信息共享難、時效差、難同步。針對這一問題,團隊充分發揮計算機專業優勢,自主研發智慧社區管理軟件,功能包括信息的增刪改查、批量導入導出、以及條件查詢,大大提升了社區信息管理的效率,同時解決了數據不一致問題。

優化與適配:緊貼社區實際需求進行軟件優化基于前期背景調研與現場需求分析,團隊成員在原有基礎功能上新增加PostgreSQL數據庫和前后端分離的架構,實現了社區居民信息的集中管理和實時同步,為社區智能化服務平臺的建立做出了計科貢獻,得到了社區工作人員的一致認可。

成效與展望:數字技術為社區治理注入新動力計科先鋒團隊將繼續致力于使用專業技術解決社區治理問題,通過數字賦能,提高社區服務效率,實現精準服務,減輕基層負擔。
基層強則國家強,基層治理是國家治理的基石,是社會治理的“最后一公里”。夯實“中國之治”,必須抓好基層治理現代化這項基礎性工作,計科先鋒實踐團將持續助力發揮數字技術在基層治理中的重要引擎作用,用專業技術為社區減負、為治理賦能。
